方形搖擺篩散料器改進及設計原理
作者 方形搖擺篩廠家
來源 www.daxingzc.cn
瀏覽
發布時間 2021/07/11
本技術涉及一種方形搖擺篩散料器。常規的方形搖擺篩正常工作時,物料通過篩機進料口時會直接堆積到篩網上。由于物料容易小面積聚集導致疏散不開,會直接影響到篩分效率,并且增加了篩網的使用成本。針對上述情況,為了解決現有搖擺篩物料聚集疏散不開、篩分效率低且篩網使用成本高的問題,本技術提供一種可以使物料快速疏散、篩分效率提高、且可以減少篩網使用成本的方形搖擺篩散料器。

技術方案為:
包括散料器,散料器包括有散料架和散料板,散料架包括橫向支撐條及固定在橫向支撐條兩端的縱向支撐條和縱向擋板,散料板兩側分別與縱向支撐條和縱向擋板固定連接形成方形框架,散料板兩端呈圓弧狀,散料板均勻設有若干通孔,縱向支撐條和縱向擋板沿橫向支撐條的方向向外延設有連接部。
優選地,通孔分布在散料板上遠離縱向擋板的一側。
優選地,通孔分布區域占散料板的三分之二。
優選地,通孔為圓形通孔。
本技術提供一種方形搖擺篩散料器,具有以下有益效果:
1、本技術提供一種方形搖擺篩散料器,在篩機的進料口下端固定該散料器,物料先堆集在散料器上,通過散料器的透漏和疏散再下到搖擺篩篩網上,防止物料聚集在篩網上,導致疏散不開,從而影響到篩分效率;
2、本技術提供一種方形搖擺篩散料器,散料板的兩端呈圓弧形設置,使堆集在散料器上的物料分別從散料板的兩個圓弧邊及通孔疏散到搖擺篩篩網上,增加篩分效率;
3、本技術提供一種方形搖擺篩散料器,在篩機的進料口下端固定該散料器,提高了篩網使用壽命,減少篩網使用成本。
附圖說明

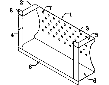
圖中:1散料器、2散料架、3散料板、4橫向支撐條、5縱向支撐條、6縱向擋板、7通孔、8連接部。
具體實施方式
現在結合附圖對本技術作進一步詳細的說明。附圖為簡化的示意圖, 僅以示意方式說明本技術的基本結構,因此其僅顯示與本技術有關的構成。
實施例一、如圖1~5所示,一種方形搖擺篩散料器,包括散料器1,散料器1包括有散料架2和散料板3。散料架2包括橫向支撐條4及固定在橫向支撐條4兩端的縱向支撐條5和縱向擋板6。散料板3兩側分別與縱向支撐條5和縱向擋板6固定連接形成方形框架。與方形搖擺篩進料口相匹配。散料板3兩端呈圓弧狀。散料板3均勻設有若干通孔7。縱向支撐條5和縱向擋板6沿橫向支撐條4的方向向外延設有連接部8。散料器1通過連接部8固定。散料器1簸動時將堆積在散料器上的物料疏散和透漏下到搖擺篩篩網上,防止物料聚集在篩網上,導致疏散不開,從而影響到篩分效率。并且提高了篩網使用壽命,減少篩網使用成本。
實施例二、在實施例一的基礎上,進一步,通孔7分布在散料板3上遠離縱向擋板6的一側,通孔7分布區域占散料板3的三分之二。散料器1在簸動時質量大的物料受的慣性大,而受的空氣阻力都是一樣的,因此散料器1將重的物料留在散料板3通孔7未分布區域。重的物料通過從散料板的兩個圓弧邊落下到搖擺篩篩網上。輕小物料通過通孔7下到搖擺篩篩網上,從而有效防止物料聚集在篩網上,導致疏散不開,影響到篩分效率。
實施例三、在實施例二的基礎上,進一步,通孔7為圓形通孔。阻力小、無棱角,不會造成物料的損傷。物料通過圓形通孔流下時十分順暢快速。通孔7的孔徑或間隙5 的大小以物料能順暢通過即可。
技術特征:
1、一種方形搖擺篩散料器,包括散料器(1),其特征在于,所述散料器(1)包括有散料架(2)和散料板(3),所述散料架(2)包括橫向支撐條(4)及固定在橫向支撐條(4)兩端的縱向支撐條(5)和縱向擋板(6),所述散料板(3)兩側分別與所述縱向支撐條(5)和縱向擋板(6)固定連接形成方形框架,所述散料板(3)兩端呈圓弧狀,所述散料板(3)均勻設有若干通孔(7),所述縱向支撐條(5)和縱向擋板(6)沿所述橫向支撐條(4)的方向向外延設有連接部(8)。
2、根據實用需求1所述的一種方形搖擺篩散料器,其特征在于,所述通孔(7)分布在所述散料板(3)上遠離所述縱向擋板(6)的一側。
3、根據實用需求2所述的一種方形搖擺篩散料器,其特征在于,所述通孔(7)分布區域占所述散料板(3)的三分之二。
4、根據實用需求1~3任一項所述的一種方形搖擺篩散料器,其特征在于,所述通孔(7)為圓形通孔。
技術總結
一種方形搖擺篩散料器,涉及搖擺篩技術領域,包括散料器,散料器包括有散料架和散料板,散料架包括橫向支撐條及固定在橫向支撐條兩端的縱向支撐條和縱向擋板,散料板兩側分別與縱向支撐條和縱向擋板固定連接形成方形框架,散料板兩端呈圓弧狀,散料板均勻設有若干通孔,縱向支撐條和縱向擋板沿橫向支撐條的方向向外延設有連接部,本技術提供一種可以使物料快速疏散、篩分效率提高、且可以減少篩網使用成本的方形搖擺篩散料器。
此文關鍵字:方形搖擺篩,散料器
最新產品
同類文章排行
- 方形搖擺篩散料器改進及設計原理
- 怎樣調整旋振篩會使篩粉處理量增大?
- 振動篩分機在膩子粉行業的應用
- 旋振篩透篩率該怎樣提高?受那些因素影響
- 標準旋振篩改造成超聲波旋振篩需要哪些配件?
- 振動篩篩網破損后怎樣更換篩網?
- 滾筒篩有效解決篩分多棱狀物料篩網堵塞問題
- 多出料卸料口刮板輸送機技術特征及要點
- 斗式提升機尾部滑板漏粉解決方案
- 方形搖擺篩抽拉式篩網結構設計技術及要求